充氮车
充氮车
CDZ型充氮车
充氮车CDZ型充氮车【充氮车上海弘新阀门有限公司
|
按照科学的发展观,中国为确保今后经济协调发展及改善人民生活的需要,必然将基础设施建设,如水、电、气、热等放在重中之重,这恰恰是阀门的用武之地。 |
|

|
|
|
型 号:CDZ型 |
|
口 径:DN1-100 |
|
压 力:1.0-50MPa |
|
连接形式:螺纹 |
|
结构形式:先导式 |
|
密封结构:软密封、硬密封 |
|
可选驱动:无驱动 |
|
材质可选:铸钢、不锈钢 |
|
上海弘新阀门有限公司 |
|
电 话:021-31263820 |
|
传 真:021-51069308 |
|
手 机:15300626002 |
|
|
|
|
|
地 址:上海松江工业区南乐路 |
| 弘新生产的充氮车,驱动方式可选用无驱动,连接方式可选用螺纹,结构形式可选用先导式,密封结构可选用软密封、硬密封,压力范围PN1.0-50MPa,公称通径为DN1-100mm,材质可选用铸钢、不锈钢。由于阀门的使用范围非常的广泛,同一种阀门在不同的场合与工况有不同的搭配,如果您是非专业人士,欢迎您向本公司来电咨询。本公司有专业技术人员为您服务!技术部电话:021-31263820 |
CDZ型充氮车型号说明

①先导式 ②公称压力:25、35、42MPa ③充氮车
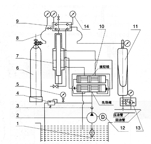
CDZ型充氮车结构图

CDZ型充氮车型技术规格 1.WU-B32×100型线隙式滤油器 2.YB-16B型叶片泵 3.DIF-K10H型单向阀 4.YF-B10弄溢流阀 5.Y-150压力表 6.氮气瓶 7.双向增压器 8.软管 9.气阀装置 10.先导换向阀 11.蓄能器 12.电动机 13.AQF-L※H※-A弄安全阀 14.电接点压力表Y150-60
|
型号 |
进行压力(MPa) |
{zg}输出压力(MPa) |
油泵 |
增压器 |
重量(kg) |
|
压力(MPa) |
流量 |
增压比 |
增压次数 |
|
CDZ-25Y1 |
3.0~13.5 |
25 |
7 |
9 |
1:4 |
8 |
338 |
|
CDZ-35Y1 |
3.0~13.5 |
35 |
7 |
9 |
1:6 |
6 |
338 |
|
CDZ-42Y1 |
3.0~13.5 |
42 |
8 |
14~16 |
1:7 |
7.5 |
338 | |
|
首先是中国的南水北调工程,仅北京郊区至市区70公里的长度内,用于阀门采购的金额就高达几千万元,那么整个南水北调工程对阀门的需求量则可想而知。其次,为解决用电紧张问题,规模性地上马水电项目不仅是中国政府的当务之急,也将是一项长期的任务。 |
|
|
|
|
|
|
|
|
|
|
|
|
|
|
|
|
|
|
|
|
|
|
|
|
|
|
|
|
|
|
|
|
|
|
|
|
|
此外,还有西气东输、老工业基地改造、城市管网建设、民居工程、污水处理、农田水利等诸多项目都将引爆阀门市场的巨大需求。 |
|
电 话: |
021-31263820 |
传 真:021-51069308 |
手 机:15300626002 |
|
邮 箱: |
|
网 址: |
|
|
地 址: |
上海松江工业区南乐路 |
|
|
|
然而,面对如此庞大的未来市场,中国的阀门生产企业究竟能够从中分食到多少订单在与外资的抗衡中,他们的差距到底有多大这些问题,恐怕才中国的阀门制造商最为关心的。 |